




從用戶出發,準確的設計定位,清晰的設計思路,高效的設計
溝通,優良的設計品質都是我們追求的設計效果。對于
我們而言,與客戶保持良好的溝通是必要的手段與方式,這樣
我們也將時刻了解客戶的產品品牌理念,同時也會不斷完善我
們的產品設計方案。
產品落地至關重要的環節,優秀的結構設計需要對產品材料、
工藝、成型、裝配等有深入了解,并且需要充分考慮如何降低
成本、降低開發風險、使產品易于使用、方便維護。
無論多么絢麗的效果圖,如果生產加工環節出問題,前期的一切工作都會付之東流。
千策良品擁有一流的供應商資源,無論是工廠經驗,還是工廠設備,都能夠為設計圖
紙產品化提供可靠保障。
需要通過對空調系統進行節能及優化改造,以降低機房空調能耗,提高系統運行安全性及穩定性。
有固定數十人的維修安裝技術團隊,隨時待命為您提供產品的現場安裝、技術指導安裝和售后維修服務。
對各地的服務網點的工作進行監督和管理;接受客戶的投訴并進行跟蹤處理,直至令客戶滿意為止。
自主品牌-鵬鯤



做中央空調行業的“蘇寧易購”,讓您暢享一站式采購的便捷與優惠。
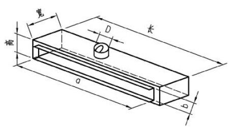
消聲靜壓箱是在通風、空調系統中必不可少的空調配件,它與風口或散流器配套使用,能消除出風口處的氣流噪聲,在系統中配置靜壓箱,可增加系統的靜壓,靜壓箱選型,穩定氣流,是氣流組織更趨于合理,達到理想的空調效果。 ZJ-01消聲靜壓箱 ZJ-01靜壓箱在通風系統中起到增加靜壓、穩定氣流的作用。靜壓箱利用斷面的突變和箱體表面的微穿孔板的吸聲作用對風機噪聲作有效的衰減,具有良好的消聲性能和較寬的頻帶,氣流阻阻力小,再生噪聲低遙消聲靜壓箱用鍍鋅板作外殼,內壁用孔板做成阻性吸聲片,內附玻璃布片、超細玻璃棉作吸聲材料。能將增加的靜壓和降低空氣動力噪聲功能融為一體,是通風系統不可缺少的配件。 ZJ-01消聲靜壓箱結構示意圖 注: 1、本靜壓箱結構圖的開口位置僅供參考,用戶在訂貨時請提供開孔位置及開孔尺寸; 2、鍍鋅鋼板風管法蘭寬度按2002 年規范制作,玻鎂風管法蘭管度按50mm制作; 3、為了同用戶的安裝尺寸保持一致,若用戶沒有注明,法蘭不打孔。 ZJ-02內貼式消聲靜壓箱 ZJ-02靜壓箱是與條縫形風口配套的必不可少的配件,主風管送風通過軟管接至靜壓箱的頸部(即D尺寸處),此處設有一處蝶形閥,可控制進入靜壓箱的風量。靜壓箱的內表面貼有吸音材料,起到消除部分噪聲的作用。送風道配置靜壓箱能減少動壓增加靜壓,起到穩定氣流的作用,使之能得到更理想的送風效果遙b×a 可根據條縫風口尺寸而定,D尺寸根據所選用的軟管直徑而定,a 尺寸用戶可在2米范圍內任意選取,也可以根據用戶的特殊要求承接靜壓箱的設計制造。 ZJ-02內貼式消聲靜壓箱結構示意圖 


靜壓箱是在通風、空調系統中必不可少的空調配件,它與風口或散流器配套使用,能消除出風口處的氣流噪聲,在系統中配置靜壓箱,可增加系統的靜壓,靜壓箱選型,穩定氣流,是氣流組織更趨于合理,達到理想的空調效果。

T701-6型阻抗復合式消聲器系列是較早空調通風系統配用的消聲器系列。 T701-6系列共有十種大小不同規格,一般適用風量2000~30000 m3/h,風速為6m/s,外形斷面尺寸為800(寬)×500(高)~2000(寬)×1800(高),其中1# ~ 4# 消聲器長度為1.6m

WX型微孔板消聲器為雙腔式結構,吸收頻帶寬,對各頻帶消聲量都較平直,消聲量大,特別對低頻部分消聲效果明顯,優于采用纖維性吸聲材料結構的阻抗復合式消聲器。

ZP100型消聲器系列是在國家通用圖集T701-6消聲器的基礎上,吸收了國內外最新技術,設計的新產品,是國家建筑標準設計圖集通用產品。標準號為97T710。

ZG型阻性管式消聲器一般安裝在風機進堯出風口,用于降低風機運行時的噪聲。消聲器為阻性消聲器,分為圓形和方形兩種,內壁用鍍鋅穿孔板制作,夾層填超細玻璃棉作吸聲材料

ZKS折板式消聲器是經改良的一種片式阻性消聲器,吸音片呈折板狀,增加了聲波的反射次數,使得消聲性能提高,該消聲器采用玻璃棉作吸音材料,鍍鋅穿孔板和超細玻璃棉布為護板,管道有效通道比較大,壓力損失小,是一種性能優良的消聲器。

消聲靜壓箱是在通風、空調系統中必不可少的空調配件,它與風口或散流器配套使用,能消除出風口處的氣流噪聲,在系統中配置靜壓箱,可增加系統的靜壓,靜壓箱選型,穩定氣流,是氣流組織更趨于合理,達到理想的空調效果。